SLOU553 May   2021

 

  1. 1Trademarks
  2. 2Hardware Overview
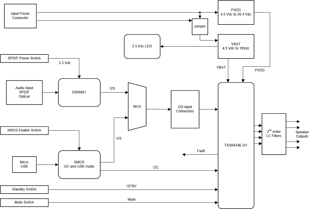
    1. 2.1 TAS6424E-Q1 Evaluation Module Description
  3. 3Software Overview
    1. 3.1 PurePath Console 3 (PPC3) Access and Description
    2. 3.2 PurePath Console 3 – TAS6424E EVM Home Window
    3. 3.3 PurePath Console 3 – TAS6424E EVM Register Map Window
    4. 3.4 PurePath Console 3 – TAS6424E EVM Monitor and Control Window
    5. 3.5 TAS6424E-Q1 EVM Start Up
      1. 3.5.1 TAS6424E-Q1 EVM Setup
      2. 3.5.2 TAS6424E-Q1 Settings on Device Monitor and Control Window
        1. 3.5.2.1 Global Control Section
        2. 3.5.2.2 Channel Control Section
        3. 3.5.2.3 Miscellaneous Control Section
        4. 3.5.2.4 Faults and Warnings Section
        5. 3.5.2.5 AC Load Diagnostics Section
        6. 3.5.2.6 DC Load Diagnostics Section
      3. 3.5.3 TAS6424E-Q1 Settings on Register Map Window
      4. 3.5.4 I2C Window
  4. 4Board Layouts, Bill of Materials, and Schematic
    1. 4.1 TAS6424E-Q1 EVM Layouts
    2. 4.2 TAS6424E-Q1 EVM Schematic
    3. 4.3 Bill of Materials
  5. 5Revision History

Trademarks

PurePath are trademarks of Texas Instruments Incorporated.

Microsoft and Windows are registered trademarks of Microsoft Corporation.

All trademarks are the property of their respective owners.