JAJS584D July   1999  – August 2016 DS90LV031A

PRODUCTION DATA.  

  1. 特長
  2. アプリケーション
  3. 概要
  4. 改訂履歴
  5. Pin Configuration and Functions
  6. Specifications
    1. 6.1 Absolute Maximum Ratings
    2. 6.2 ESD Ratings
    3. 6.3 Recommended Operating Conditions
    4. 6.4 Thermal Information
    5. 6.5 Electrical Characteristics
    6. 6.6 Switching Characteristics - Industrial
    7. 6.7 Dissipation Ratings
    8. 6.8 Typical Characteristics
  7. Parameter Measurement Information
  8. Detailed Description
    1. 8.1 Overview
    2. 8.2 Functional Block Diagram
    3. 8.3 Feature Description
      1. 8.3.1 Fail-Safe LVDS Interface
    4. 8.4 Device Functional Modes
  9. Application and Implementation
    1. 9.1 Application Information
    2. 9.2 Typical Application
      1. 9.2.1 Design Requirements
      2. 9.2.2 Detailed Design Procedure
        1. 9.2.2.1 Probing LVDS Transmission Lines
        2. 9.2.2.2 Cables and Connectors, General Comments
      3. 9.2.3 Application Curves
  10. 10Power Supply Recommendations
  11. 11Layout
    1. 11.1 Layout Guidelines
      1. 11.1.1 Power Decoupling Recommendations
      2. 11.1.2 Differential Traces
      3. 11.1.3 Termination
    2. 11.2 Layout Example
  12. 12デバイスおよびドキュメントのサポート
    1. 12.1 ドキュメントのサポート
      1. 12.1.1 関連資料
    2. 12.2 ドキュメントの更新通知を受け取る方法
    3. 12.3 コミュニティ・リソース
    4. 12.4 商標
    5. 12.5 静電気放電に関する注意事項
    6. 12.6 Glossary
  13. 13メカニカル、パッケージ、および注文情報

パッケージ・オプション

メカニカル・データ(パッケージ|ピン)
サーマルパッド・メカニカル・データ
発注情報

1 特長

  • 400Mbps (200MHz)を超えるスイッチング速度
  • 差動スキュー標準値: 0.1ns
  • 差動スキュー最大値: 0.4ns
  • 最大伝搬遅延: 2ns
  • 3.3V電源の設計
  • ±350mVの差動信号
  • 低消費電力(3.3V時、13mW)
  • 既存の5V、LVDSデバイスとの接続可能
  • IEEE 1596.3 SCI LVDS規格に準拠
  • TIA/EIA-644 LVDS規格に準拠
  • 工業用動作温度範囲
  • SOICおよびTSSOP表面実装パッケージで供給

2 アプリケーション

  • ビルディング・オートメーションとファクトリ・オートメーション
  • グリッド・インフラストラクチャ

3 概要

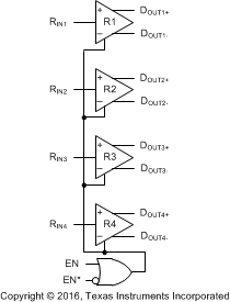
DS90LV031Aは、クワッドCMOS差動ライン・ドライバで、非常に低い消費電力と高いデータ速度を必要とするアプリケーション用に設計されています。このデバイスは、低電圧差動信号(LVDS)テクノロジを活用し、400Mbps (200MHz)を超えるデータ転送速度をサポートするよう設計されています。

DS90LV031Aは低電圧のLVTTLまたはLVCMOS入力レベルを受け付け、低電圧(350mV)の差動出力信号へ変換します。さらに、このドライバは TRI-STATE®機能をサポートしており、この機能を使用して出力ステージをディセーブルし、負荷電流をディセーブルして、デバイスを超低消費電力(標準値13mW)のアイドル状態へ移行できます。

ENおよびEN*入力により、TRI-STATE出力をアクティブLOWまたはアクティブHIGHで制御できます。イネーブルは4つのドライバすべてに共通です。DS90LV031Aおよびコンパニオン・ライン・レシーバ(DS90LV032A)は、消費電力の大きい疑似ECLデバイスの新しい代替品として、高速のポイント・ツー・ポイント・インターフェイス・アプリケーション用に使用できます。

製品情報(1)

型番 パッケージ 本体サイズ(公称)
DS90LV031A SOIC (16) 9.90mm×3.91mm
TSSOP (16) 5.00mm×4.40mm
  1. 提供されているすべてのパッケージについては、データシートの末尾にある注文情報を参照してください。

ブロック図

DS90LV031A 10009502.gif