JAJSCT9 December   2016 FPC401

PRODUCTION DATA.  

  1. 1特長
  2. 2アプリケーション
  3. 3概要
  4. 4改訂履歴
  5. 5概要(続き)
  6. 6デバイスおよびドキュメントのサポート
    1. 6.1 ドキュメントのサポート
      1. 6.1.1 関連資料
    2. 6.2 ドキュメントの更新通知を受け取る方法
    3. 6.3 コミュニティ・リソース
    4. 6.4 商標
    5. 6.5 静電気放電に関する注意事項
    6. 6.6 用語集
  7. 7メカニカル、パッケージ、および注文情報

パッケージ・オプション

メカニカル・データ(パッケージ|ピン)
サーマルパッド・メカニカル・データ
発注情報

特長

  • 4つのポート間にわたって制御信号管理とI2C集約をサポート
  • 複数のFPC401を組み合わせることにより、合計56のポートを単一のホスト・インターフェイスから制御可能
  • 独立したI2Cマルチプレクサ、LEDドライバ、ピン数の多いFPGA/CPLD制御デバイスが不要
  • すべての低速制御信号をポートの近くで処理するため、PCBの配線の複雑性を低減
  • I2C (最高1MHz)またはSPI (最高10MHz)のホスト制御インターフェイスを選択可能
  • 重要なユーザー指定のデータをモジュールから自動的にプリフェッチ
  • 単一ポートおよび複数ポートの低レイテンシの読み取り/書き込み: SPIモードで50µs未満、I2Cモードで400µs未満
  • ブロードキャスト・モードにより、すべてのFPC401コントローラ間にわたってすべてのポートへ同時に書き込み可能
  • 先進のLED機能によるポート・ステータスの表示、点滅や調光もプログラム可能
  • 割り込みイベントをカスタマイズ可能
  • 独立のホスト側I/O電圧: 1.8V~3.3V
  • 小形のQFNパッケージにより、PCBの裏側でポートの下に配置可能

アプリケーション

  • ToR/集約/コア・スイッチおよびルーターのSFP+/QSFP+ポートの制御
  • SAS外部ケーブル管理インターフェイスの制御
  • ビデオ・スイッチおよびルーターのSFP+/QSFP+ポートの制御

概要

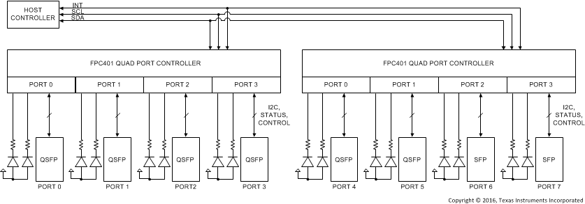
FPC401クワッド・ポート・コントローラは、SFP+、QSFP+、SASなど一般的なポート・タイプ用の低速信号アグリゲータとして機能します。FPC401は4つのポートの低速制御信号およびI2C信号をすべて集約し、使いやすい単一の管理インターフェイスをホストに提供します(I2CまたはSPI)。複数のFPC401を使用すると、ホストに対する1つの共通の制御インターフェイスを備えたポート数の多いアプリケーションが実現できます。FPC401はPCBの裏側でプレスフィット・コネクタの下に配置できるよう設計されているため、配線が簡単に行えます。ポートの低速信号を、このローカル化された方法で制御することにより、I/O数の少ない制御デバイス(FPGA、CPLD、MCU)を使用でき、配線レイヤの密度が低減されるため、システムのBOMコストを削減できます。

製品情報(1)

型番 パッケージ 本体サイズ(公称)
FPC401 QFN (56) 5.00mm×11.00mm
  1. 提供されているすべてのパッケージについては、巻末の注文情報を参照してください。

ブロック概略図

FPC401 fpc_simplified_block_diagram.gif